二手极光为什么那么便宜?买二手路虎极光的感受
时间:2020-06-11 14:37:46 编辑:车主手册
作为一枚全系SUV车型的品牌,路虎在品牌文化、品位和财力的共同缔造下,成为了英国王室的御用座驾,其中拥有着极为特殊的意义与价值;与此同时,一款车卖的好不好,很大程度上与外观直接挂钩,特别是对于国内消费者特别注重外观来说,颜值甚至能决定一款车的命脉。

二手极光为什么那么便宜?
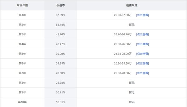
奇瑞路虎极光在二手车市场上前五年的保值率分别为67.99%、58.18%、49.76%、43.47%、39.29%,根据中国汽车流通协会的统计,国内二手车第一年的平均保值率为70%,第三年的平均保值率为60%,路虎前三年均低于平均标准,所以其还是属于保值较差的情况,而保值率能够在一定程度上估值车辆的二手车价位。

此外在汽车行业中,关于路虎有这样一句话“不是在修车,就是在修车的路上”,由此也可以真实的看出路虎车小毛病多的问题,这也导致了极光在二手车市场被区别对待的原因。

买二手路虎极光的感受
根据真实车主的反映极光空间小、换挡顿挫感明显以及变速箱故障的通病,而进口极光变速箱故障的问题就曾2015年3.15晚会被严重点名,一时间从车型加价17万到降价15万销售的过程可谓是大起大落;随后针对这个问题捷豹路虎中国最终承认故障是因变速箱与软件系统不匹配所导致的,并召回了2013年-2014年生产的所有进口极光车型。
目前路虎全系车型面临的问题在于无法提升单车售价,品牌支撑力明显下滑,虽然从产品表现力上来说路虎产品提升明显,但公众认知仍然停留在“修不好的路虎”阶段,当务之急路虎需要紧急修复品牌缺陷,提升品牌价值以及认同感,一方面营销需要重新设立,另一方面产品更替以及品质需要提升。

相关文章
- 在汽车市场中,二手车交易如今也是广受关注的话题。许多人都想知道,懂车帝平台上的二手车价格是否真实可靠。接下来,就让车主手册...[详细]
- 首先是C2C平台交易,这类平台将车辆发布到无中间商的信息匹配平台上,并提供买卖双方联络、车况检测等服务。虽然卖车周期可能会比较...[详细]
- 二手车保险是按照新车价格算,前提是必须属于过户车辆的二手车才可以。根据我国法律规定在车险保障期间,被保险机动车辆的所有权转...[详细]
- 对于4万元所购买的二手车来讲保险费需要花费多少钱,其实与新购买的车辆花费的保险费应该是不相上下的,但很有可能会比在原车主过户...[详细]
- 购买新车时,4S店会帮车主一条龙将车险代办下来,但如果购买的是二手车,那就完全要靠自己了,那二手车保险应该怎么买? 首先,交强...[详细]
- 很多车主认为自己办理了二手车过户后,原车主买的车险就一起过户到自己名下了,所以忽略了车险的购买。但是当车子出险的时候,才发...[详细]
- 很多车友在购买车辆时会选择购买二手车,这样既可以避免购买新车所需的购置税,又可以更自由地为车辆缴纳保险。那么,二手车第一年...[详细]
- 众所周知,交强险是每辆车都必须购买的强制保险。对于二手车来说,过户后,交强险也会随之变化。所以交强险在过户当年还是可以用的...[详细]
- 买二手车可以通过114找第三方检测,一般情况下,县市级地区都会设立专门的汽车检测机构,常见的第三方检测机构有:中检车、检车无忧...[详细]
- 根据网上车主对汽车漆膜仪的品牌好评以及差评还有销量,评选出了2021年漆膜仪十大品牌的排行榜,十大品牌排行榜分别有伊莱科、Mitut...[详细]
- 最近有很多车主来向小编反馈,瓜子二手车的价格太贵了。这是因为瓜子二手车基本上不会给车辆进行估价的,车辆价格大多数都是让车主...[详细]
- 澳康达二手车的标准是中国二手车质量要求的最高标准,由于车辆的的成色很好,所以说澳康达二手车的价格才会那么贵。去过澳康达的人...[详细]
- 相比起宝马而言,凯迪拉克CT5的保值率要稍低一些,因此二手车市场上CT5的价格相当吸引人,20款的车比起新车能便宜个8万左右,让人看得...[详细]
- 二手车数量与新车销量是有一定关系的,新车卖得越多二手车自然也就越多,所以比亚迪汉dm二手车多是正常现象。很多人会觉得比亚迪汉...[详细]
- 国产车在这十年里进步神速,在过内涌现出了不少综合实力非常强悍的国产车型,许多朋友在购买二手车时也越来越偏向于选择性价比更高...[详细]
- 有很多朋友都对圣达菲这台车充满疑惑,究竟它是在华泰旗下还是在现代旗下的呢?其实,圣达菲这台车本身是现代,后来华泰就找现代进...[详细]
- 赛威的全称是SLS赛威,它是凯迪拉克在2007年推出的一款中大型豪华轿车,它在当时的定位相当于现在的CT6,可以说CT6就是赛威的继任车型。...[详细]
- 霸道目前已经停产,作为一台硬派越野车,霸道在越野性能和可靠性上一直名列前茅。不少越野老炮依然会选择一台二手霸道作为自己的玩...[详细]
- 最近,抖音百万汽车博主唐会公开打假千万汽车博主大仙以54万的价格虚假出售奥迪R8事件引起全网轰动,不少网红车评人也对此事各有表态...[详细]


















